武汉市奥普软件工程有限公司
首页
企业简介
产品大全
联系我们
企业信息
在线留言
PRODUCT
产品大全
Pro/E创建工程图格式文件的方法
查看详情
欧特克工程建设行业软件集2017新品全国巡讲首站于北京盛大启幕
查看详情
软件工程 构建数字世界的基石
查看详情
自动化工厂中的10大核心工控产品与软件工程应用
查看详情
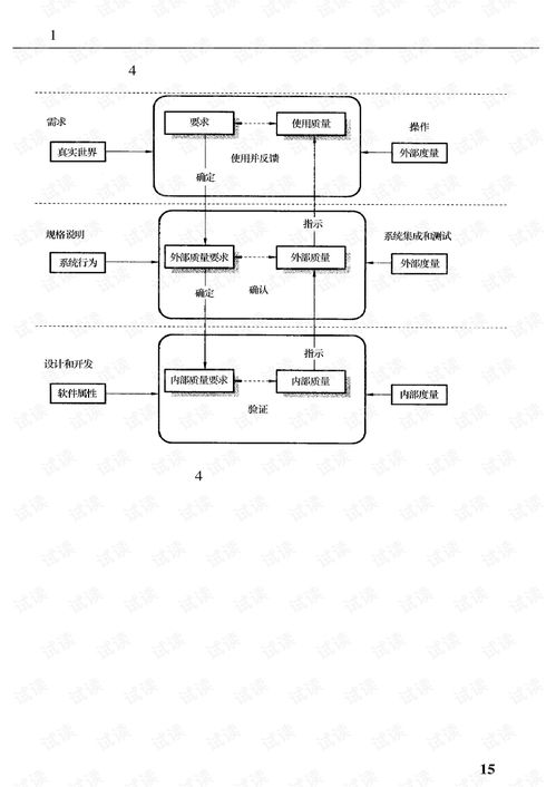
计算机软件工程质量保证与产品可靠性评审测试技术新标准实务全书
查看详情
华为房产智能平台 软件工程赋能房产销售新体验
查看详情
软件工程中的UML建模 指南与原则
查看详情
软件工程中的技术设计实践(二) 关键原则与实现步骤
查看详情
软考分类精讲 软件工程基础与核心概念
查看详情
有效的Java异常处理在UML与软件工程组织中的应用
查看详情
建筑安装工程计量计价软件的软件工程实践
查看详情
软件工程中的核心技术栈 从Java到MySQL的全栈开发实践
查看详情
软件工程能力漫谈 比质量更重要的,是项目管理能力
查看详情
软件工程 从理论到实践的探索之旅
查看详情
软件工程 从概念到实践的全面探索
查看详情
软件工程基础 概念、模型与方法
查看详情
软件工程专业毕业生的就业前景分析
查看详情
Xometry推出新版即时报价引擎 软件工程的创新与突破
查看详情
国产CAE软件的“长坡厚雪”在哪里?软件工程的视角
查看详情
软件测试在软件工程中的目的与意义
查看详情
如若转载,请注明出处:http://www.whupsoft.com/product/list-3.html
第一页
上一页
1
2
3
4
5
下一页